iPhone 6 podría venir con un cable USB totalmente reversible
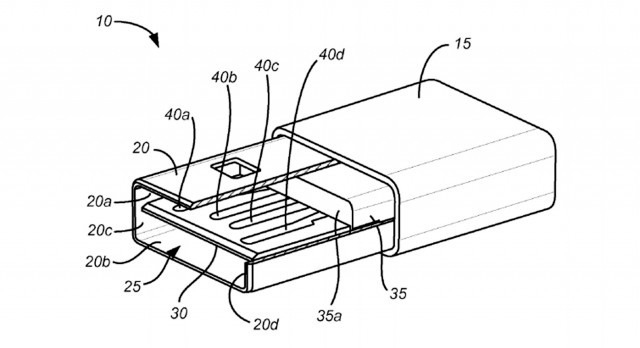
Casi todo el mundo está a la espera de la salida del iPhone 6 para el próximo mes de Septiembre. Mientras algunos esperan una pantalla de mayor tamaño, una de las nuevas características que podría generar un gran impacto en el uso diario es este cable USB totalmente reversible por ambos lados que se ha filtrado por Internet.
https://twitter.com/SonnyDickson/status/500837230491860992/
Recordando hace un par de años, el cable Lightning revolucionó y encantó a muchos de los usuarios de dispositivos Apple debido a que simplificó ese tedioso momento de tener que conectar cables por el lado correcto.
Esto forma parte del estándar USB 3.1 (Type-C) que ya está listo para producción en el mercado. Sin embargo, no nos queda claro si este nuevo cable filtrado será la evolución de Lightning hacia USB 3. Apple quiere dar un paso adelante con los cable reversibles, algo que sus competidores deberían imitar para el bien de todos los usuarios.
