Categorías: Noticias

Amazon patentó una pulsera para sus empleados que le informa su ubicación en todo momento

A pesar de lo tormentoso que puede sonar, Amazon ya patentó esta pulsera. Los dirigentes informaron que con este instrumento facilitará considerablemente el trabajo de sus empleados, pero todavía no se sabe con claridad si la tecnología será usada para otro producto.

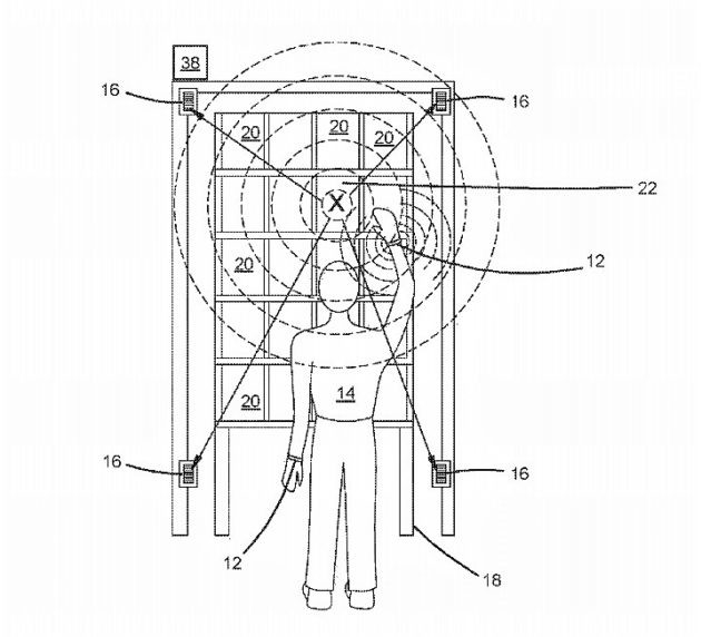
El invento fue ideado en el 2016, poco después la misma empresa buscó patentarlo, pero tal hecho fue aceptado recién hace pocos días. Su tecnología consiste en transmitir datos mediante pulsaciones de ultra sonido o transmisiones radiales, las cuales llegarán hasta un receptor que detectará la posición de las manos del empleado en todo momento.

Con este dispositivo, se ha comenzado a comentar en internet una realidad distópica en la que los jefes pueden tener todo el control sobre los movimientos de sus empleados. Lo cual es un argumento que enfurece a muchas personas, y tienen motivos. Amazon no está acostumbrada a hablar sobre los proyectos que patenta, pero con este invento tuvo que hacer una excepción y lanzó un comunicado en defensa del mismo.

Según la empresa, actualmente ya existen dispositivos usados por miles de cadenas de supermercados que escanean el producto para verificar el inventario y precio. Su pulsera está ideada para la misma labor, pero facilitará el proceso de una manera increíble. Dejando libres las manos del empleado, y alejándolo de las fastidiosas pantallas.

Lo que es un posición bastante considerable, puede también ser una excusa para disfrazar otro ideal. Pero eso sí, esta pulsera definitivamente facilitará el alcance de información en supermercados gigantescos, en donde sí es necesario. Lamentablemente los usuarios ya vienen con una idea mala respecto al trato de Amazon con sus trabajadores. Por ejemplo, en Italia se evidenciaron huelgas de los mismos de cara al Black Friday del año pasado. Huelgas las cuales fueron motivadas por el trato de ‘robots‘ que comentaron las víctimas.

Felizmente este invento todavía está en hojas de papel, ya que apenas se aprobó la patente. Amazon todavía no está fabricando las pulseras. Aunque con esta afirmación todavía sigue en duda si la tecnología será usada para otro producto.

Vía Xataka