Se revela la patente del nuevo diseño de Google Glass
Parece que Google aún no ha abandonado a uno de sus proyectos más interesantes hasta la fecha: el Google Glass. Un patente registrado hace unos días revela como luciría la nueva versión de este interesante gadget.
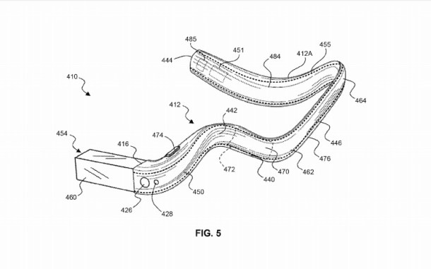
Bajo el código de 9195067 B1, esta patente deja de lado de forma de lentes que tenía para crear un dispositivo más independiente. Tendrá un monitor de realidad aumentada para un solo ojo y se colocará directamente al lado de la cara, el hardware se encontrara en la parte de la nuca.
Lamentablemente esta es la única información que se tiene. Ya sabía que Google trabaja en revitalizar la marca Google Glass y esperemos que este patente pueda salir a la luz en algún tiempo.




¿Qué opinas?
Vía: Engadget.