PlayStation VR: Sony está desarrollando unos ‘PS Move’ mejorados

Los controles de la PlayStation VR serán mejorados próximamente, algo que se veía venir después de nueve años de su lanzamiento.

En 2010, Sony los presentó como los más versátiles del mercado, y valla que no se equivocaron. Ahora, la compañía ha registrado nuevas patentes que evidencia una nueva generación de este dispositivo.

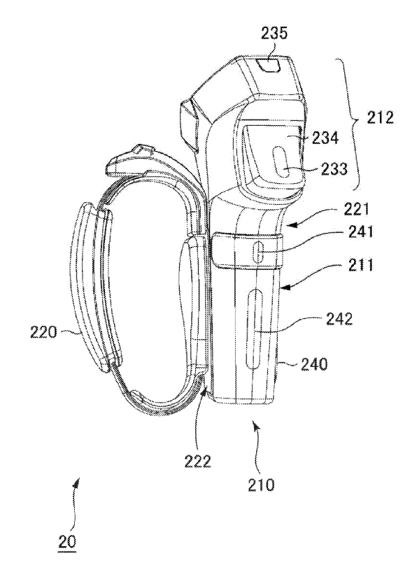
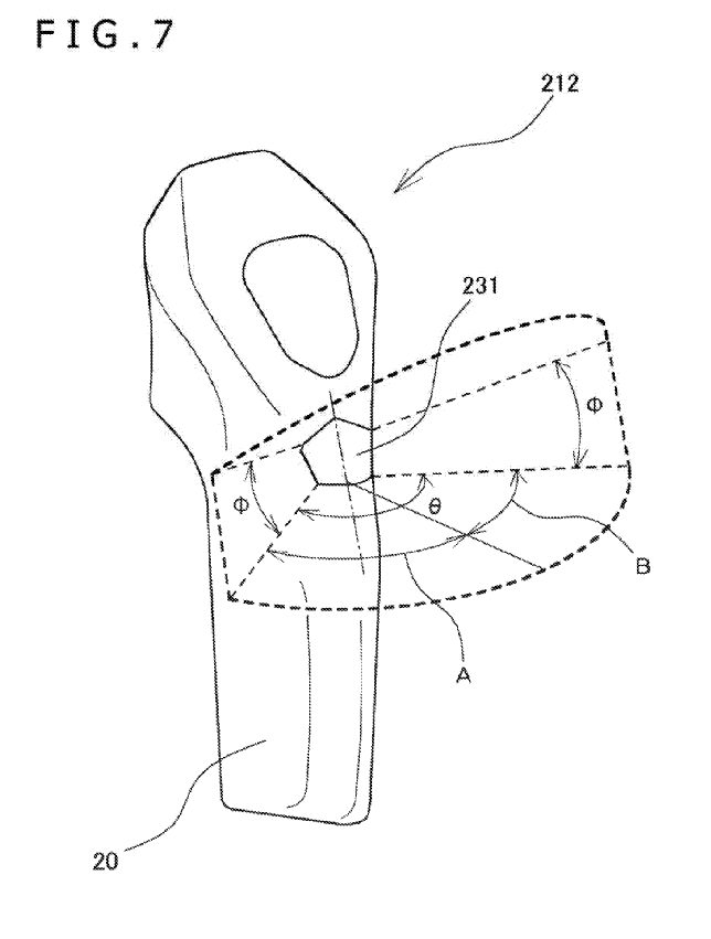
Entre las nuevas características, tenemos el rastreo individual de nuestros dedos y manos. De esta manera, la precisión será de otro nivel, y ayudará a que la experiencia de la Realidad Virtual sea aún más completa.

Además, tendremos características táctiles y hápticas, algo así como los ‘Joy-Con’ de la Nintendo Switch. Gracias a esta tecnología, la vibración será mucho más realista, por lo que olvidaremos el clásico balanceo de los mandos básicos.

Por último, las nuevas patentes describen un cambio de diseño del mando; además de la inclusión de un acelerómetro y un girascopio. Los últimos serán útiles para reconocer inclinaciones o movimientos leves, incluso sabremos de qué manera estamos sujetando el dispositivo.

Vía GamingBolt