IBM quiere patentar una tecnología que impide imprimir documentos con copyright
Parece que entraremos a un nuevo capitulo en cuanto a copyright se refiere y es que la empresa IBM ha emitido una solicitud de patente en donde el dispositivo va a analizar todo el contenido a imprimir, ya sea contenido y permisos disponibles. Esto permitiré que nos sea imposible imprimir un documento que tenga copyright o que no tengamos permiso para su impresión.
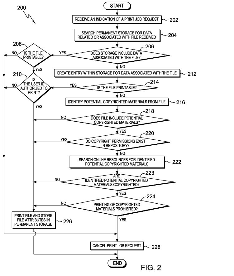
Este proceso consistirá en un programa que analizara frases concretas e imagines incluidas en el documento. Si el programa decide que hay riesgo de que el contenido no pertenezca al usuario, compara estos indicadores con una base de datos de contenidos permitidos, incluyendo la adquisición de permisos.
También se contempla que el programa realice búsquedas online para encontrar más información que le ayude a decidir si el documento puede ser imprimido o no. La patente también podría detectar el plagio de documentos y así decidir cuando 2 documentos tienen una sospechosa similitud.
Se realizarse esta patente veremos un gran golpe en la impresión de documentos tal y como lo conocemos. Naturalmente, IBM comenta que su objetivo es prevenir la copia no autorizada de materiales con copyright.

¿Qué opinas?
Vía: Xataka