Apple registró una patente de un cable que no se deshilacha

Uno de los accidentes más frecuentes en nuestros móviles, es cuando el cable del cargador se deshilacha por tantas dobladas. Apple podría tener la solución de este problema común que tenemos la gran mayoría de usuarios de smartphones.

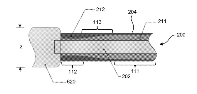
La compañía registró la patente como ‘Cable With Variable Stiffness‘, y se trata de un cable que no se deshilachará con los dobleces. Para lograr esto, cuenta con tres materiales, uno es flexible, el segundo es rígido y el último está entre ambos y es el más resistente.

Todavía no se han visto prototipos, pero desde ya Apple estaría planeado incluirlos en todos sus dispositivos portátiles.

Vía Engadget