Apple patenta su propia impresora 3D a color
Apple siempre quiere ser los primeros en muchos aspectos: van 2dos como vendedores de smartphones y ahora busca ampliar sus dominios patentando su propia impresora 3D a color, rompiendo la idea de figuras de un solo color que existe actualmente.
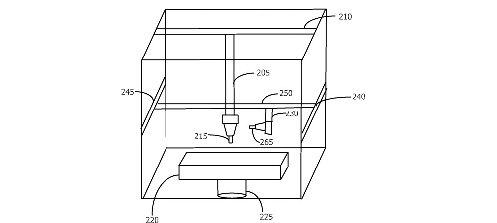
Para conseguir una gama amplia de colores, el truco de este concepto es usar dos cabezales diferentes: uno es similar al de otras impresoras 3D y se encarga de imprimir el objeto en 3D en diversos materiales, pero sobre todo plástico.
El segundo cabezal se encargaría de pintar la figura del color que hayamos creado. Apple ha ideado dos conceptos; en uno el cabezal de la impresión y el de la pintura trabajen de manera intermitente por capas, y en el segundo primero se termina de imprimir el objeto y luego se pinta.


¿Qué opinas?
Vía: Apple Insider